Bantuan & Sokongan

Panduan Pengguna SPINIC

Langkah demi langkah cara menggunakan Sistem Pengurusan Instrumentasi Bersepadu untuk pencarian dan tempahan analisis makmal UKM.

1

Pendaftaran Akaun Pengguna

Makluman: Untuk pengguna Warga UKM (Kakitangan dan Pelajar), anda tidak perlu mendaftar. Sila gunakan fungsi log masuk menggunakan UKMPer/Nomatrik dan Kata Laluan SMPWEB/ePelajar.
a

Bagi Pengguna Luar / Agensi, klik butang "Daftar" pada penjuru kanan atas di laman utama sistem SPINIC.

Penjuru Kanan Atas
Klik butang ini
b

Lengkapkan borang pendaftaran dengan butiran yang tepat. Pastikan e-mel yang didaftarkan adalah aktif untuk tujuan pengesahan.

c

Selepas berjaya mendaftar, sila semak e-mel anda untuk pautan pengaktifan akaun. Klik pautan tersebut untuk mengaktifkan akaun anda sebelum log masuk.

2

Cara Membuat Carian Analisis

a

Pada laman utama atau halaman carian, masukkan kata kunci pada kotak carian mega. Anda boleh mencari berdasarkan Nama Instrumen (cth: FESEM), Nama Analisis, atau Kod Analisis.

Cari Analisis
Instrumen
FESEM
CARI
b

Sistem akan memaparkan senarai cadangan (Suggest Box). Anda boleh terus klik pada cadangan tersebut atau tekan butang "Cari" untuk melihat semua hasil padanan.

c

Gunakan panel tapisan (Filter) di sebelah kiri untuk memperhalusi carian anda mengikut Pusat/Fakulti, Makmal, atau julat Harga.

3

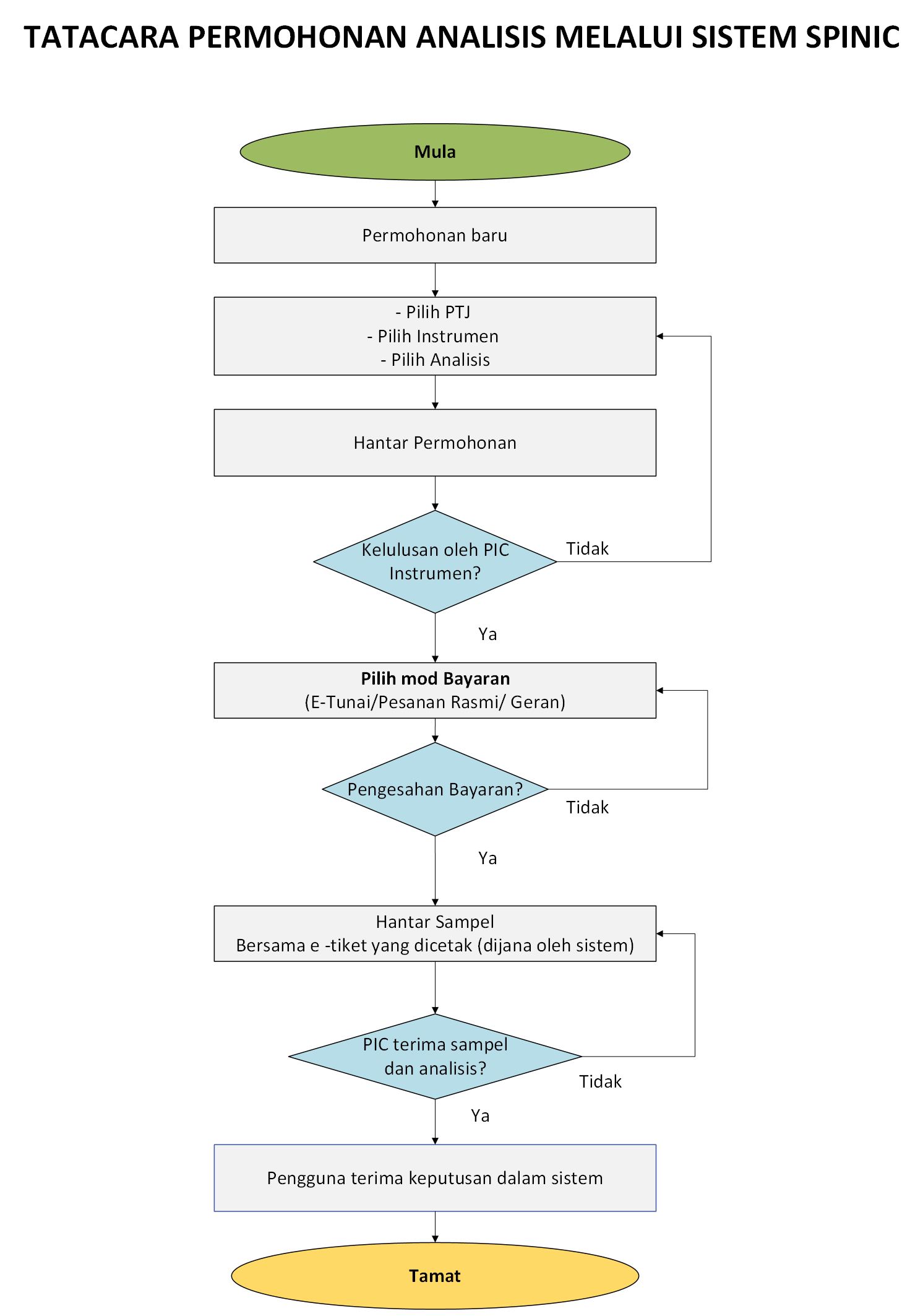
Proses Permohonan Analisis

a

Setelah menjumpai analisis yang dikehendaki, klik butang "Detail" untuk melihat maklumat terperinci seperti lokasi, harga, dan nama Pegawai Penyelidik (PIC).

b

Klik butang "Tempah" atau "Buat Permohonan". Anda perlu log masuk ke dalam sistem terlebih dahulu.

c

Isi borang permohonan yang disediakan. Masukkan kuantiti sampel, tarikh jangkaan, dan muat naik dokumen berkaitan (jika perlu).

Borang Tempahan
Kuantiti Sampel
5
Dokumen Sokongan
Muat Naik PDF
Hantar Permohonan
d

Klik "Hantar". Permohonan anda akan dihantar ke PTJ yang berkaitan untuk proses kelulusan. Anda akan menerima notifikasi e-mel apabila status permohonan dikemas kini.

4

Semakan Status Permohonan

a

Log masuk ke akaun anda dan klik pada menu "Semakan Permohonan" di panel navigasi sisi (Menu Utama).

Dashboard
Permohonan
Permohonan Baru
Semak Permohonan
Klik menu ini

Semak Permohonan

Pantau status analisis dan muat turun keputusan anda di sini.

Semua 0
Baru 0
Bayaran 0
Proses Bayaran 0
Hantar Sampel 0
Jadual Senarai Permohonan
b

Halaman ini memaparkan Senarai Permohonan anda beserta status terkini seperti Permohonan Baru, Bayaran, Penghantaran Sampel, dan Selesai dengan butang tapisan di bahagian atas.

c

Klik pada kotak ID Permohonan (teks bergaris biru) untuk melihat Jejak Permohonan. Anda boleh memantau perkembangan permohonan dan log sampel anda secara masa-nyata (real-time) melalui ruangan butiran tersebut.

5

Muat Turun Keputusan

a

Apabila proses analisis makmal telah siap sepenuhnya, status permohonan akan bertukar kepada "Selesai" dan satu notifikasi e-mel akan dihantar kepada anda.

b

Buka butiran permohonan tersebut dan lihat pada ruangan maklumat. Anda akan menjumpai satu pautan khas ke folder awan (Cloud).

c

Klik butang "Buka Google Drive" untuk melihat dan memuat turun keputusan analisis, data mentah, serta dokumen berkaitan anda secara digital.

Analisis Selesai
Keputusan dan data mentah sedia untuk dimuat turun.

Sedia untuk Memulakan?

Daftar sekarang dan mulakan permohonan anda dengan mudah di SPINIC!

Mula Sekarang
Zoom